|
|
 |
 |
| |
陶 瓷 球 阀
|
一、用
途
本球阀用于气体、液体或固态流体等介质管路上,作截流密封用,但不宜作调节流量用。 |
| 二、主要技术参数 |
|
| 三、作用原理和结构说明 |
1.本阀门主要由阀体、阀盖、球体、阀座、阀杆、支架、气动装置(手动装置)等组成,当气动装置(手动装置)动作带动阀杆转动,达到开启或关闭的目的。
2.球体与阀座采用陶瓷,具有优良的抗腐蚀性、耐温性和极高的耐磨性,且其密封面粗糙度可达到Ra0.1,保证了阀门的密封性能。
3.根据不同的介质应选用不同的零件材质。
4.
开关迅速,启闭灵活,寿命长,安全可靠。
5.气动球阀可远距离集中控制,且能满足计算机程控的需要。 |
| 四、主要零件材料 |
|
| 五、采用标准 |
| 1.设计标准:GB12237 2.结构长度:GB12221 3.法兰尺寸:GB9115
4.检验与试验:GB/T13927 |
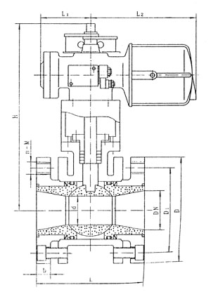
| 六、结构简图 |
| 1.手动陶瓷球阀Q341W-16SC |
|
| 2.气动陶瓷球阀Q641W-16SC |
|
| 七、Q341W-16SC型主要连接尺寸、外形尺寸及重量 |
|
| 八、Q641W-16SC型主要连接尺寸、外形尺寸及重量 |
|
| 九、气动装置性能参数 |
|
|
|
|