| |
重力除尘器遮断阀系列
|
| 一、用途 |
| 遮断阀用于重力除尘器中粗煤气的切断,我公司对该阀的结构作了较大的改进,以满足目前高炉系统强化冶炼的需要。 |
| 二、产品概述 |
1.该阀的结构分为两钟:单种和双钟,单钟用于小型高炉(200m3)左右,双钟结构主要用于中型以上高炉,其密封性好,耐压高。
2.本阀的密封面采用耐热,耐冲刷材料,使用寿命长,运行可靠。
3.传动系统配套的绳轮与导轮,拉杆的上密封支座,用户可在调整好后直接焊在除尘器上。 |
| |
除尘器遮断阀(单钟结构)
|
| 一、结构特点及用途 |
本阀由阀座、锥形阀塞、拉杆、绳轮等零件组成,由卷扬机驱动阀门启闭。
本阀密封面喷焊粉末合金材料,耐磨性和密封性能好,适用于冶金行业煤气除尘系统及粗煤气系统,起截断作用,也用于其它含尘气体管路。本阀性能可靠,使用寿命长。
启闭用的卷扬机由用户自备。 |
|
注:虚线表示除尘器箱体由用户方制作,实线部分为设备 |
| 二、主要技术参数 |
|
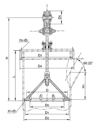
| 三、主要结构尺寸 |
 |
| |
除尘器遮断阀(双钟结构)
|
| 一、结构特点及用途 |
本阀由阀座、上下双锥体、拉杆、绳轮等零件组成,由卷扬机驱动实现启闭。
本阀密封面喷焊粉末合金材料,耐磨性和密封性能好,适用于冶金行业煤气除尘系统及粗煤气系统,起截断作用,也用于其它含尘气体管路。本阀性能可靠,使用寿命长。
启闭用的卷扬机由用户自备。 |
| 二、主要技术参数 |
 |
|
注:虚线表示除尘器箱体,由用户方制作,实线部分为设备 |
| 三、主要结构尺寸 |
 |